烟台海飞石油管道设备有限公司
总机:0535-6647113
0535-6646114
传真:0535-6649332
销售部手机:15864087878(李经理)
18954554963(黄静)
18954557113(季珊)
18954558111(王鹏)
13688662616(徐娜)
销售部值班商务座机:
15864087878
售后查件电话:18863880818(周杰)
专用技术部值班手机:
15864087878(李工)
在线QQ:
3292262386
公司地址:山东省烟台市芝罘区前进路1号
企业邮箱:ythaifeishiyou@sina.com
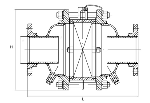
GZ-2型稳态爆轰管道阻火器
代表阻火器保护的最高规格,分为GZ-2稳态爆轰及 GZ-2-1非稳态爆轰主要用于长管段或有多个弯头的管段,用以阻止稳定(可选 GZ-2)和不稳定爆轰(可选 GZ-2-1)。
特点
•最大流量、压降小
•易清理、不易堵塞、维修少
•标准温度检测口
•易安装、可拆卸的阻火栅,便于检查和维护
•双向结构
•支持 ANSI、DIN和 HG/T20592~20635-2009 法兰
规格参数
型号 | 尺寸 | 气体组别(IEC/NEC) |
---|---|---|
GZ-2管道稳态 阻爆轰阻火器 | 1”(DN25) ~ 40”(DN 1000) | ⅡA/D ⅡB3/C ⅡC/B |
结构材料
型号 | 壳体 | 阻火栅 |
---|---|---|
GZ-2管道稳态 阻爆轰阻火器 | 碳钢 304 316L 哈氏合金 |
304 316L 哈氏合金 |
关键参数表
型号 | A 公称连接尺寸 In(mm) |
B 壳体尺寸 mm |
H 外径 mm |
L 总长度 mm |
---|---|---|---|---|
GZ-2 | 1(25) | 100 | 220 | 364 |
2(50) | 150 | 285 | 404 | |
3(80) | 150 | 285 | 404 | |
4(100) | 200 | 340 | 454 | |
6(150) | 300 | 445 | 620 | |
8(200) | 400 | 565 | 660 | |
10(250) | 500 | 670 | 760 | |
12(300) | 600 | 780 | 860 | |
16(400) | 800 | 1015 | 1060 | |
20(500) | 1000 | 1255 | 1155 | |
24(600) | 1200 | 1485 | 1400 |
*容许公差为 ±1.00″ (25mm);参数内容仅供参考,更多需求请联系我们。